大家好,我是Echa。
上班不易,副业成刚需。关于接私活这件事,怎么说呢。有的人是用来练手,有的人是用来赚外快,但是没接过私活的职业生涯就像没挂过科的大学生活,是不完整的。
第一小编要表明的是,小编讲的是在上班时间之外,从事其他工作,不违反公司的保密义务的前提下,就不属于违法,但是这个条件也是在一般情况下,特殊情况例如许多在职教师私下偷偷办补习班就属于违规行为。
程序员接私活早已不是个新鲜话题——互联网行业整出的花活儿越多,对开发者的需求量就越大;对于一些中小公司和初创企业来说,不少的项目会直接外包或者是寻找远程开发者,由此便产生了程序员接私活的现象。
又到了周末小编分享15个接私活赚钱的开源项目,希望能给大家有所协助,不管是接私活赚钱方面,还是学习方面,都所有收获。
全文大纲
- mfish-nocode 摸鱼低代码管理平台
- iparking 停车收费管理系统
- ThinkAdmin 遵循 MIT 协议开源的快速开发后台管理系统
- Hotel-System 智慧酒店管理系统
- Himool ERP 开源ERP管理系统
- Pig Admin 企业级快速开发后台管理系统
- oa_system OA办公自动化系统
- FJ-OMS SKYER 电商业务中台OMS全渠道订单管理系统
- gfast GF(Go Frame)的后台管理系统
- Fantastic-admin 一款开箱即用的 Vue 中后台管理系统框架
- shangma 码蚁免费成绩管理系统
- rebuild_CRM_ERP 库存生产管理系统
- WML 素材库管理系统
- react-admin 简约的后台管理系统
- nodcloud 点可云进销存系统
mfish-nocode
Gitee:https://gitee.com/qiufeng9862/mfish-nocode
摸鱼低代码平台希望打造一个基于低代码的无代码平台。既能给程序员使用,也能满足非专业人士的需求。
当前开源部分完成前后台开发脚手架功能,采用apache2.0可以基于本框架进行二次开发,不限制商用。
技术栈
- 后端基于Spring Cloud Alibaba生态
- 前端基于Vue-Vben-Admin进行开发
- 前端技术栈:vue3+vite+ts+pnpm
前端mfish-nocode-view 在vben-admin基础上进行了axios请求以及路由相关重构,优化菜单加载速度,精简了部分组件。
是一个基于 Vue3.0、Vite、 Ant-Design-Vue、TypeScript 的后台解决方案,目标是为开发中大型项目提供开箱即用的解决方案。包括二次封装组件、utils、hooks、动态菜单、权限校验、按钮级别权限控制等功能。项目会使用前端较新的技术栈,可以作为项目的启动模版,以协助你快速搭建企业级中后台产品。
也可以作为一个示例,用于学习 vue3、vite、ts 等主流技术。该项目会持续跟进最新技术,并将其应用在项目中。

系统架构图
功能介绍
├─ChatGpt
│ ├─聊天
├─驾驶舱
│ ├─工作台
├─系统管理
│ ├─菜单管理
│ ├─组织管理
│ ├─角色管理
│ ├─帐号管理
│ ├─字典管理
│ ├─个人管理
│ ├─日志管理
│ ├─文件管理
│ ├─在线用户
│ ├─数据库
│ └─数据源
├─系统监控
│ ├─监控中心
├─任务调度
│ ├─任务管理
│ ├─任务日志
├─项目文档
│ ├─接口地址
│ ├─Github地址
│ ├─Gitee地址
│ ├─AntDesign文档
│ └─Vben文档
├─多级目录
├─系统工具
│ ├─代码生成
├─图形编辑器
├─引导页
├─关于
└─其他模块
└─更多功能开发中。。
系统截图:

mfish-nocode 后台登录

mfish-nocode 后台首页


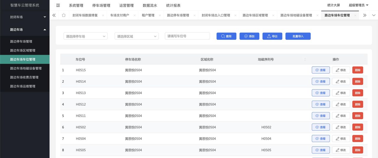
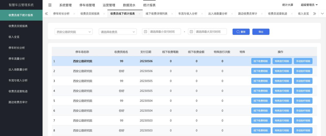
iparking
Gitee: https://gitee.com/fhs-opensource/iparking
Iparking 是一款基于Springboot,Mybatis Plus,Beetl,Mysql,Redis,RabbitMQ,UniApp开发的互联网停车收费管理系统,支持微信支付宝在线支付,支持公众号包月,支持SaaS模式,可以同时支持多个停车场和租户,支持多种硬件设备接入,支持嵌入到Linux中部署厂端和windows部分厂端。支持路边停车。涵盖了停车场管理系统的所有基础功能。
功能介绍




系统截图

iparking 后台登录




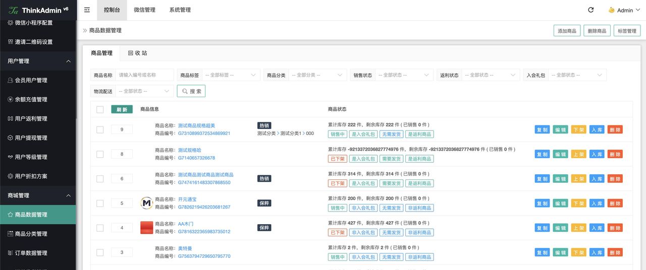
ThinkAdmin
Gitee: https://gitee.com/zoujingli/ThinkAdmin
I ThinkAdmin v6 是基于 v1–v5 大版本的积累,经历了几次大的调整,结合 ThinkPHP6 的思维重新构建,减少大量原非必需的组件,自建存储层、服务层及队列任务机制,另外还增加了许多友善指令!当前 v6 版本已经通过了数个系统实践与测试,过程中不停调整与优化,目前系统模块及微信模块已经趋于稳定,现将系统管理 app/admin 及微信管理 app/wechat 定为 v6 内核两大模块并以 MIT 协议发布,后续可能还有其他模块及相关辅助模块更新发布,敬请期待……
系统核心组件 ThinkLibrary 封装了大量常用操作以及多应用组件,可快速开发各种应用程序,且不影响原 ThinkPHP 生态,大大简化编码成本;可自行选择集成 WechatDeveloper 组件 ( 支持微信公众号、微信小程序、微信企业号、微信商户支付、支付宝支付等 ) 及 QRcode 二维码生成工具等。里面还内置了 ThinkPHP6 多应用组件并且完美支持路由;文件存储支持本地服务器存储、七牛云对象存储(支持CDN加速)、又拍云USS存储(支持CDN加速)、阿里云OSS存储(支持CDN加速)、腾讯云COS存储(支持CDN加速)等存储方式;自带异步任务处理机制,可以并列多进程执行任务,任务响应延时小于 0.5 秒,兼容 windows 及 linux。
使用 ThinkAdmin 需要掌握 ThinkPHP、jQuery、LayUI、RequireJs 等开发技能,后台 UI 界面基于最新版本的 LayUI 前端框架以及 RequireJs 组件加载方式,默认加载了所有 LayUI 的组件,框架中可以直接使用组件(独立页面需要注意 js 加载顺序哦),使用 RequireJs 加载插件,互联网上资源超级多,可自行下载进行二次扩展。目前后台大部分页面为单页程序,页面加载速度超级快速,也因此后台不再支持选项卡模式。
我们致力于快速开发的底层框架,让项目开发变得更容易。框架提供完善的基础组件以及对应的 API 支持,基于此框架可以快速开发各种 WEB 应用。任何一个系统都不能完全满足所有的业务场景,ThinkAdmin 免费提供基础底层的功能,这里包括系统权限管理,系统存储配置,微信授权管理,以及其他常用功能集成等…… 因此 ThinkAdmin 也被大家定性为外包二开基线系统。从 v6.1 开始我们提供会员尊享组件和定制业务插件服务。目前已经有许多公司及个人在使用 ThinkAdmin,通过数据聚合统计已有 5 万多在线运行的项目。
系统截图

ThinkAdmin 后台登录

ThinkAdmin 后台首页


Hotel-System
Gitee: https://gitee.com/HyacinthTechnology_admin/Hotel-System
ThinkPHP 5.1版酒店管理系统
新版本对系统架构做了进一步的改善,其主要特性包括:
- 入住管理
- 预订管理
- 语音提示、语音播报
- 房态实时图表数据
- 预警提示
- 微信api接口
- 短信营销
- 会员管理
- 酒店的商品管理
- 报表中心
- 财务管理
- 设备管理。智能门锁、读卡器、身份证识别
- 第三方平台接入:如:途牛、携程、飞猪
系统截图:




Himool ERP
Gitee: https://gitee.com/himool/erp
开源ERP管理系统,该系统前后端分离,包含PDA移动端扫码操作,api使用restful协议,方便二次开发,后端使用Python,Django,DRF等技术,前端代码使用AntD进行构建,包含采购管理,销售管理,库存管理等业务管理流程。移动端使用Uniapp,包含产品标签打印,出入库扫码等功能。
硬件要求及开发环境
- 移动端打印功能需指定型号PDA
- Python版本为V3.9+
- Django版本为V3.2+
- Django-rest-framework版本为V3.12+
- Vue版本为2.6+
- PDA端使用Uniapp
- 数据库为MySQL
- 前端组件为AntD
- 其他Python包可参考requirements.txt文件
搭建运行环境
- pip install -r requirements.txt
- cd frontend #进入frontend文件夹
- npm install -g @vue/cli #安装vue脚手架
- npm install #安装依赖包
功能介绍

功能介绍

Himool ERP 流程图
系统截图:

PDA界面
Pig Admin
Gitee: https://gitee.com/log4j/pig
系统说明
- 基于 Spring Cloud 2021 、Spring Boot 2.7、 OAuth2 的 RBAC 权限管理系统
- 基于数据驱动视图的理念封装 element-plus,即使没有 vue 的使用经验也能快速上手
- 提供对常见容器化支持 Docker、Kubernetes、Rancher2 支持
- 提供 lambda 、stream api 、webflux 的生产实践
系统截图





oa_system OA
Gitee: https://gitee.com/aaluoxiang/oa_system
介绍
- oasys是一个OA办公自动化系统,使用Maven进行项目管理。
- 基于springboot框架开发的项目,mysql底层数据库,前端采用freemarker模板引擎,Bootstrap作为前端UI框架。
- 集成了jpa、mybatis等框架。作为初学springboot的同学是一个很不错的项目,如果想在此基础上面进行OA的增强,也是一个不错的方案。
部署流程
- 1.下载项目、把oasys.sql导入本地数据库
- 2. 修改application.properties,
- 3. 修改数据源,oasys——>自己本地的库名,用户名和密码修改成自己的
- 4. 修改相关路径,配置图片路径、文件路径、附件路径。(static/image/oasys.jpg 拷贝到配置的图片路径下,不然会报 FileNotFoundException )
- 5. OasysApplication.java中的main方法运行,控制台没有报错信息,数据启动时间多久即运行成功
- 6. 在浏览器中输入localhost:8088/logins
系统截图





FJ-OMS SKYER
Gitee: https://gitee.com/FJ-OMS/SKYER
介绍
通过汇总源于京东、淘宝、天猫、抖音和拼多多等渠道订单,并在业务中台内部转化成内部订单,整合订单中心和采购中心与库存中心、财务中心的业务流程,使企业的订单、库存和财务三方数据形成铁三角。
以订单、库存和财务为基础服务构成的通用中台系统,实现快速部署,并协助企业后续自主进行开发迭代,来协助企业实现数字化转型。我们能够提供的系统性的服务包括:通用的零售业务中台、强劲的技术中台、后续开发方案的设计,技术及管理人员的培训等。
业务中台通过将订单、库存、财务、商品、营销等业务管理起来,构造适应新零售条件下管理模式的系统,协助企业实现数字化条件下的转型升级。
技术中台通过微服务架构,流水线自动部署等,实现让水平一般的程序员开发高复杂度的中台系统,降低企业在技术上的投入。
经过方案设计和人员培训后,会为企业培养出一支自主可控有水平的技术团队,方便企业后续自主的开发系统,以跟得上快速变化的市场环境,减少总体的上线时间,降低企业运营成本。
协助企业解决以下的问题
- 1、全渠道订单,及线上线下订单难以融合处理的问题。
- 2、库存无法共享处理,库存仓位过重的问题。
- 3、财务无法实时统计,单单处理,资金周转率过低的问题。
- 4、商品、价格、营销、权限等数据各自分散,无法综合管理,造成大量内部损耗的问题。
- 5、开发周期长,人员要求高,成本高,整体迭代受制于人的问题。
- 6、市场变化太快,系统无法及时跟得上业务的问题。
- 中台的实现能让企业处理来自所有渠道的订单,能最低将库存仓位维持在原来的20%,能将资金周转率提
技术架构


系统截图



gfast
Gitee: https://gitee.com/tiger1103/gfast
平台简介
- 基于全新Go Frame 2.3+Vue3+Element Plus开发的全栈前后端分离的管理系统
- 前端采用vue-next-admin 、Vue、Element UI。
- 本项目由奇讯科技团队开发。
- 如您想购买云服务器请先领取阿里云优惠券:点我进入,腾讯云优惠券:点我领取
- 目前我们基于gfast开发了:吸vo( ̄▽ ̄)d毒人员风控平台、政府数据化招商平台、档案资源普查信息系统、扶贫资产管理系统、厂房消防安全风控平台、重点项目督办平台等。
特征
- 高生产率:几分钟即可搭建一个后台管理系统
- 模块化:单应用多系统的模式,将一个完整的应用拆分为多个系统,后续扩展更加便捷,增加代码复用性。
- 插件化: 可通过插件的方式扩展系统功能
- 认证机制:采用gtoken的用户状态认证及casbin的权限认证
- 路由模式:得益于goframe2.0提供了规范化的路由注册方式,无需注解自动生成api文档
- 面向接口开发
内置功能
- 用户管理:用户是系统操作者,该功能主要完成系统用户配置。
- 部门管理:配置系统组织机构(公司、部门、小组),树结构展现支持数据权限。
- 岗位管理:配置系统用户所属担任职务。
- 菜单管理:配置系统菜单,操作权限,按钮权限标识等。
- 角色管理:角色菜单权限分配、设置角色按机构进行数据范围权限划分。
- 字典管理:对系统中常常使用的一些较为固定的数据进行维护。
- 参数管理:对系统动态配置常用参数。
- 操作日志:系统正常操作日志记录和查询;系统异常信息日志记录和查询。
- 登录日志:系统登录日志记录查询包含登录异常。
- 在线用户:当前系统中活跃用户状态监控。
- 定时任务:在线(添加、修改、删除)任务调度包含执行结果日志。
- 代码生成:前后端代码的生成。
- 服务监控:监视当前系统CPU、内存、磁盘、堆栈等相关信息。
- 在线构建器:拖动表单元素生成相应的HTML代码。
- 文件上传,缓存标签等。
系统截图





Fantastic-admin
Gitee: https://gitee.com/hooray/fantastic-admin
一款开箱即用的 Vue 中后台管理系统框架,兼容PC、移动端。vue-admin, vue-element-admin, vue后台, 后台系统, 后台框架, 管理后台, 管理系统
特点
- 丰富的布局与主题,覆盖市面上各种中后台应用场景,兼容PC、平板和移动端
- 提供系统配置文件,轻松实现个性化定制
- 精心设计的动效,让每一处的动画都干净利落
- 根据路由配置自动生成导航栏
- 基于文件系统的路由
- 支持全方位权限验证
- 内置多级路由最佳缓存方案
- 轻松实现国际化多语言适配
- 提供接近于浏览器原生标签栏操作体验的标签页功能
系统截图




shangma
Gitee: https://gitee.com/dlbz/shangma
蚂蚁免费成绩管理系统 坦率地讲,在不久的将来,这也许会是辽东半岛上第二好用的成绩统计系统。
教学质量是学校教学的生命线,只有能够客观分析自己教学成败得失的教师才是一个合格的老师。这是一款注重优化成绩采集方法、丰富成绩分析维度的小学成绩统计系统,力争做到符合教师工作习惯、使用方法简单、数据分析多样、分析结果科学,为教师的试卷分析、教育科研提供数据参考。
开发者是一名非计算机专业的小学教师,只因工作遇到了兴趣,才有了这个小项目。为了让自己统计成绩工作变得更优雅,才边学边写这个成绩统计项目。信息录入与输出简单,支持在线单条录入和表格录入、表格输出,尽量让所有信息可管理。在操作设计中,遵循 Giles Colborne 的简约至上原则,尽量做到三步便可到达要操作的位置。统计维度参考华东师范大学教育学系王孝玲教授著作的《教育统计学》第五版。前端采用X-adminV2.2,后端采用ThinkPHP V6.0.7框架开发。
“情怀”的代言人罗永浩说:“科技的每一次进步,给我们带来的是更好的世界,而不是完美的世界”,因此,这个项目会一直向着更好不断奔跑着!
主要功能:
- 设置系统信息、单位信息管理、类别管理、网页统计结果显示项目
- 学期、班级、班主任、学科管理
- 管理员、权限、角色管理
- 学生信息管理
- 考试信息设置
- 设置参与考试学科及各学科的满分、优秀、良好、及格分数线和人数比。
- 生成学生的考试号
- 生成学生试卷标签
- 生成学生成绩采集表
- 在线录入和修改成绩、表格录入成绩、扫码枪录入成绩
- 查看成绩列表、成绩图表
- 查看成绩统计结果(表格、柱形图、折线图、雷达图、箱体图、仪表图、成绩报告)
- 查看学生历次成绩(表格+拆线图)
- 教师和学生不同身份的登录
- 设置统计项目
- 根据职务、教研组长、班主任、教师任务分工、管理员控制数据权限
系统截图





rebuild_CRM_ERP
Gitee: https://gitee.com/getrebuild/rebuild
REBUILD 侧重于业务需求实现,而非基础技术框架或项目启动模板,通过 REBUILD 可以真正实现零代码快速搭建!无需编程、无需编译代码,甚至无需了解任何技术。
高度可配置化的企业管理系统!可免费商用!低代码/零代码快速搭建企业中台、CRM客户关系管理、WMS库存管理、TMS运输管理、SCM供应链管理,外贸管理,甚至是 ERP 企业资源计划!
快速交付
相较于同类产品,REBUILD 更侧重于业务需求实现,而非基础的技术框架或项目启动模板。
「开放式设计」是 REBUILD 的重大设计理念。得益于开发团队成熟的 B 端产品经验,我们实现了对企业日常各类需求的可配置化管理,无需开发即可使用,有效避免过度依赖高成本研发投入。
降低成本
REBUILD 从安装阶段就为您思考如何简化繁杂的实施过程,降低实施成本也是 REBUILD 的重大目标之一。
从图形化安装界面,到实体模块导出;从基础数据导入,到可共享的业务规则配置 … 您都可以最大程度的利用已有项目的实施成果。在避免无意义重复工作的同时,极大提升实施效率、减少实施周期。
特性

系统截图




WML
Gitee: https://gitee.com/macplus/WML
介绍
WML可用于收集、整理、共享项目中的“图片、视频、音频、文档”等各种素材,让工作变得更有效率!WML为BS架构,素材统一存放于服务器中,用户通过浏览器管理和使用素材库中的素材。
最新版本v0.1.0
- 后台-分类管理/标签管理
- 后台-人员机构岗位管理/参数设置
- 前台-布局(三段布局,左文件分类、中文件列表、右文件信息)
- 前台-文件批量上传
- 前台-资源列表(列数,布局,刷新,排序,检索)
- 前台-资源详情(预览,图片取色,图片放大、流媒体播放)
- 前台-文件管理(删除、移动分类、多选删除、多选移动、下载、部分格式预览【pdf、图片、mp4、mp3】)
- 前台-社交功能(访问量、评价、评论、访问记录、收藏、订阅)
系统截图



react-admin
Github: https://github.com/sxfad/react-admin
react-admin是基于React17.x、Ant Design4.x的管理系统架构。 采用前后端分离,内置了许多管理系统常用功能,通过一些脚本、封装协助开发人员快速开发管理系统,聚焦精力处理业务逻辑。
系统截图





nodcloud
Github: https://gitee.com/yimiaoOpen/nodcloud
介绍
点可云进销存系统,基于thinkphp+layui开发。 功能包含:采购、销售、零售、多仓库管理、财务管理等功能 和超详细的报表功能(采购报表、销售报表、零售报表、仓库报表、资金报表等)
软件架构
thinkphp+layui

功能概览
购货
-购货单
-购货退货单
采购
-采购订单
-采购入库单
销货
-销货单
-销货退货单
零售
-零售单
-零售退货单
-服务单
-积分兑换单
仓库
-库存查询
-库存盘点
-库存预警
-调拨单
-其他入库单
-其他出库单
资金
-收款单
-付款单
-其他收入单
-其他支出单
-资金调拨单
报表
-单据核销单
-数据报表
设置
-基础资料
-辅助资料
-高级设置
系统截图






最后
一台电脑,一个键盘,尽情挥洒智慧的人生;几行数字,几个字母,认真编写生活的美好;
一 个灵感,一段程序,推动科技进步,促进社会发展。
创作不易,喜爱的友友们加个关注,点个赞,打个赏,后面会不定期更新干货和技术相关的资讯,速速收藏,谢谢!你们的一个小小举动就是对小编的认可,更是创作的动力。
















- 最新
- 最热
只看作者